家じゅう丸ごと浄活水
サイエンスウォーターセキュリティ
全蛇口に対応するセントラル型浄活水装置
サイエンス正規販売代理店TaKara販売ページ


サイエンス正規販売代理店
代理店ID 01T131812T05
キッチン、洗濯、お風呂、温水洗浄便座。
水道水に不安を感じるなら、ご家庭のあらゆる蛇口を浄活水に。
建設業の会社の当店だからこそ、
ご注文前から施工後まできめ細かくサポート。
ぜひお気軽にご相談ください。

水道・水質関連の事故やニュース
日本の水道水の安全性は世界的に見ても高い水準ですが、ご家庭に届くまでの過程で様々な要因で水質が変化する可能性があります。
水道・水質関連の事故やニュースが散見される昨今、ご家庭のセキュリティ対策は万全ですか?
物理的な防犯セキュリティ、インターネットのウィルス対策ソフト、それに加えて近年注目されているのが「水のセキュリティ」です。
最近水道についてのニュースを目にすることが増えた気がします。
水道水はまず浄水施設できれいにされて、そこから水道管を通ってご自宅に届きます。
そのお水を届ける水道管は、一部の地域では整備が行き届いていない場合があります。
老朽化した水道管を通った水道水には、多くの汚れが混ざっていることもあります。
PFAS対応実験済み
PFASとは
パーフルオロアルキル化合物とポリフルオロアルキル化合物の総称で、炭素とフッ素が強く結びついた化学物質です。
水や油をはじき、熱に強く非常に安定している物質であるなどの特性を持つため、フライパンのコーティングや消火剤など、私たちの身近な製品に使われています。
しかし、分解されにくく自然環境中に残留しやすいため、健康への影響が懸念されています。人体への影響として、免疫機能の低下やがんのリスク増加などが指摘されており、世界中で規制が強化されたり、代替物質の開発が進められています。
PFAS対応実験済み
サイエンスウォーターセキュリティは、浄水器協会(JWPA)の規格基準(JWPAS B基準)に規定された試験方法により、PFAS(有機フッ素化合物)の一種であるPFOS・PFOAの除去試験を実施。
これにより、活性炭フィルターでPFOS・PFOAの除去が確認されました。
※2025年1月31日 株式会社サイエンス発表
見た目で分かる浄水器の重要性
ご自宅の水道メーターすぐの位置に取り付けたフィルターは、2年間でここまで汚れてしまうことも。
お住まいの地域の水質によってはこの写真以上の差が出る場合もあります。
水道水は浄水場で綺麗になっているのに、こんなにも汚れが混ざっているんですね……。
この前浄水場の見学に行ったら最新の設備が整っていて、そこで作られたお水はとても美味しかったんですよ。
美味しいし安全でコスパも良い水道水をより活かせる設備があればいいのに……。
日本は国際的に見ても水道水の水質基準が高いのですが、ご覧の通り、日本全国のすべての水道管を最新のものに保ち続けることは非常に困難で、ご家庭に届く水道水の水質は万全とは言い難いと言われています。
だからこそ、浄水器が役に立ちます。
キッチン水栓につけている浄水器も数ヶ月でかなり汚れがついたりしますし、浄水器は必需品ですね。
飲む水から、浴びるお湯まで。
家じゅうの水道を浄水に。
浄水器はキッチン水栓にのみ取り付けるイメージが強いです。
しかし、お風呂や温水洗浄便座など、直接お肌に水道水が触れる場面はキッチン以外にもあります。
浄水施設では、水質基準を満たすための浄水処理のほか、オゾンや活性炭による処理を組み込むことで、匂いがしたり水の美味しさが損なわれることを低減する取り組みも行われています。
そのおかげで私たちは、安全で美味しいお水を活用できています。
ただ、浄水施設通過後の水道管が老朽化していると、まれに水道管内部で赤錆が剝がれてしまい、水道水に混ざって流れてくる場合があります。
水質に問題がないとしても、これをそのまま口にしたり、湯船に浸かるのはためらわれますね……。
サイエンスウォーターセキュリティで、
心地良く明るい住まいに
ご家庭で利用する水道水を、家中まるごと浄活水にできるサイエンスウォーターセキュリティ。
家中のあらゆる水栓で浄活水をご利用いただけます。
長期間の旅行中にも。必要最低限の塩素濃度をキープできるから、貯水箇所に細菌を繁殖させにくい
水道水に含まれている塩素には細菌の繁殖を抑制する効果があります。
一方で、塩素濃度が高いと赤錆の原因になったり、カルキ臭さや水の美味しさなどにも影響があります。
浄水器は水道水を浄水フィルターに通すことで塩素を低減しますが、フィルターが1ミクロン以下など、細かすぎると細菌の繁殖を抑制するために必要な塩素までも失ってしまいます。
浄水後すぐに使用する分には問題ありませんが、水道メーターすぐに設置するセントラル浄水器の場合、浄水フィルターを通過した後に水道管などの貯水箇所があるため、浄水後に長期間放置してしまうと細菌が繁殖する可能性があります。
サイエンスウォーターセキュリティは、30ミクロンの浄水フィルターと独自の内部構造により最低限必要な塩素濃度を保てるため、旅行など、長期間の不在時にも貯水箇所に細菌を繁殖させにくいです。(長期間使用していない場合は捨て水が必要です。)
なお、この構造は、経済産業省特許庁管轄「実用新案3137167号」を取得しています。
カートリッジ交換もプロにお任せで楽々
サイエンスウォーターセキュリティは浄水フィルターがカートリッジ型になっています。
カートリッジ交換はプロが対応するため、ご自身で行う必要はありません。
なお、カートリッジは500トンまで浄水にすることができるので、1日1トンの水道水を使用した場合、およそ1年半で交換時期となります。
浄活水の美味しい水
水の酸化力と還元力を電位差で表したものが「酸化還元電位」。その数値は水に含まれる薬品や金属、ゴミ等の不純物が少ないほど低くなります。「サイエンスウォーター」は検査の結果、市販の天然水より数値がすぐれていることが実証されました。
洗濯物のダメージを軽減
水道水に含まれている残留塩素は、細菌の繁殖を抑制する効果がある一方で、強い酸化力があります。
衣類が劣化する可能性のある酸化力があったり、黄ばみの原因の一つとも言われている残留塩素濃度を低減し、洗濯物をより良い仕上がりに。
やさしいお水でゆったりとバスタイム
お子さんがいるご家庭では、湯船で子供が頭まで浸かったり、お湯が目に入ったりすることもあります。
シャワーも湯船のお湯も丸ごと浄活水だから、やさしいお水でゆったりとバスタイムを楽しめます。
こうして見ると、水道水は本当に日常生活にかかわりが深いですね。
そうですね。ご自宅は、ご自身だけではなくご家族にとっても大切な場所ですし、水質に不安がなくなると生活の質、QOLにも良い影響がありそうですね。
国土交通省及び環境省管轄「給水装置データベース」登録
サイエンスウォーターセキュリティなどのセントラル浄水器は、国土交通省及び環境省の区分としては「給水装置」と呼ばれています。
安全性や水道法に基づく基準を満たしている給水装置は、国土交通省及び環境省が管轄する「給水装置データベース」に認証・登録することができます。
サイエンスウォーターセキュリティはそれらの基準を満たし、2020年2月に給水装置データベースに登録されました。
給水装置データベース
経済産業省特許庁管轄「実用新案3137167号」取得
サイエンスウォーターセキュリティは、流入する水道水の一部分のみ浄水フィルターを介さずに後から合流させることで、細菌の繁殖を抑制するために必要な最低限の塩素濃度を保てるようになっています。
これは独自の内部構造で、経済産業省特許庁管轄の「実用新案3137167号」を取得しています。
給水装置データベースに登録されているのは、水道法などの基準を満たしていることがわかりやすくて良いですね。
そうですね。フィルターが1ミクロン以下など細かすぎると本体内部や水道管内で細菌の繁殖を抑制するための塩素濃度が保てません。
30ミクロンの浄水フィルターと独自の内部構造があるからこそ、セントラル型浄水器としておすすめできます。
浄水性能の高さばかりに気を取られないように気を付けてくださいね。
たしかに、このお話を聞いていなかったら、塩素濃度が低ければ低いほど良い製品に感じていたかもしれませんね……気を付けます。
ぜひお気軽にご相談ください。

サイエンスウォーターセキュリティが選ばれる
7つの理由
水にこだわり続ける企業、株式会社サイエンスがお届けする、セントラル型浄活水器「サイエンスウォーターセキュリティ」。
選ばれているのには理由があります。
蛇口に取り付けるタイプでは対応できない、お湯も浄活水化
蛇口に取り付けるタイプの浄水器の場合、フィルターに耐熱性がないため、後からお湯を浄水器に通すことができません。
サイエンスウォーターセキュリティは水道メーターのすぐ内側に設置するため、水道水が給湯器にたどり着く前に浄活水化できます。
お風呂やシャワーなども、サイエンスウォーターセキュリティを通過した後に温度を上げているので、問題なく浄活水をご活用いただけます。
設置場所を選ばないコンパクト設計
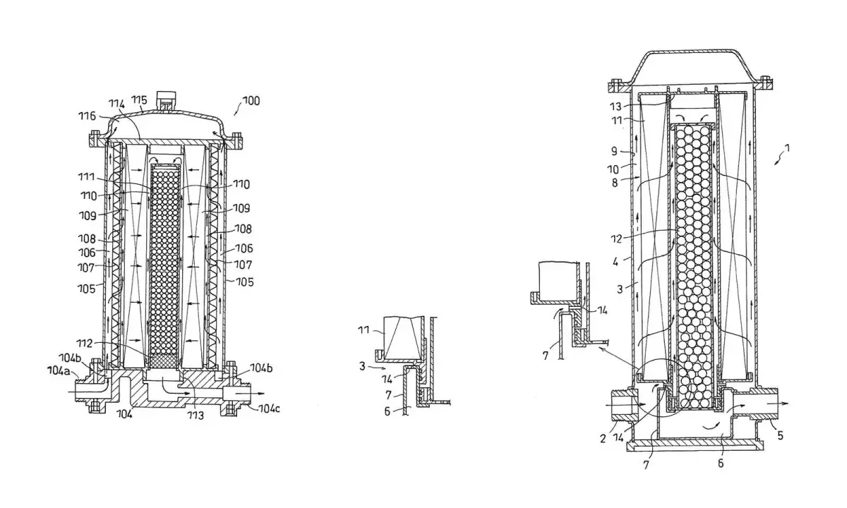
サイエンスウォーターセキュリティの本体は高さ311mmの円柱型の装置です。
戸建て住宅ではほぼ同じ大きさの専用BOXに、マンション等の集合住宅ではメーターボックス内に入れて設置します。
どちらの場合も屋外でコンパクトに設置するため、屋内のキッチンなどで余計なスペースを確保する必要がありません。
500トンをろ過できる大容量の浄水フィルター
サイエンスウォーターセキュリティの浄水フィルター(交換式カートリッジ)は、水道水を500トンまでろ過できます。
4人家族で1日1トンの水道水を使用した場合は500日、約1年半が交換の目安となります。
※交換時期はお住まいの地域の水道水や、水道水のご使用状況によって変わります。
家中まるごと浄活水にできるセントラル型浄水器
サイエンスウォーターセキュリティは、水道メーターのすぐ内側に設置するため、家中のすべての水栓で浄活水が使えます。
蛇口に取り付けるタイプの従来型の浄水器では取り付けづらい、お手洗いや屋外の蛇口などもすべて浄活水になりますので、ご家庭で水道水をそのまま利用する場面がなくなります。
残留塩素を低減して水道管への負担をやわらげる
赤錆の原因の一つである残留塩素を低減するので、水道管内に赤錆が発生しにくくなります。
水道管同士のつなぎ部分や、給湯器、貯湯器など、錆や汚れが入りやすいところも傷みにくくなり、水道管が長持ちする可能性があります。水道管メンテナンスや買い替えの頻度を抑えられるとコスト削減にもつながります。
浄水機能だけではなく浄活水化
サイエンスウォーターセキュリティは、不純物や残留塩素をろ過する浄水フィルターに加え、5種類のセラミックフィルターを備えた高機能フィルターを搭載しています。





飲用水としてもコストパフォーマンスが高い
本体と内部のセラミックフィルターは一度設置いただくと基本的に交換不要、浄水フィルターはカートリッジ式でおおよそ1年半~2年ごとに交換となります。
従来型の蛇口に取り付けるタイプの浄水器を半年ごとに交換する場合、本体価格とカートリッジ交換代を含めて、ランニングコストは実質的にサイエンスウォーターセキュリティとほとんど変わりません。
また、飲用水としては、市販の天然水やウォーターサーバーと比較してサイエンスウォーターセキュリティの方がコストパフォーマンスが格段に高いです。
お客様の声
C.Y 様
サイエンスウォーターセキュリティと一緒に撮影
引っ越しを機に水道水の味の違いに気が付き、また、同時期から肌の調子が気になるようになったこともあり、水質に対して徐々に不安を抱くようになりました。
ちょうど孫が生まれる時期で、より安全な水を考え始めたタイミングも重なり、インターネットなどで調べている中で「サイエンスウォーターセキュリティ」に興味を持ちました。
導入してからまだ日が浅いのですが、水道水の塩素臭さが気にならなくなったり、お風呂やシャワーのお湯も以前よりまろやかに感じます。
今は水質に対する不安はだいぶなくなり、これからの生活の変化を家族みんなで楽しみにしています。
サイエンスLDホームオーナー 様
水にこだわった住まいにしたくて選びました。
その甲斐あって、家中が浄水で最高の環境になりました。
お茶を作ることが多いので味の違いを実感しやすく、お風呂でも肌荒れがしにくくなったように感じています。
サイエンスLDホームオーナー 様
知人の紹介がきっかけで選びました。
自宅を建てて住み始めたばかりですが、全ての蛇口からキレイな水が出るのは魅力的に感じています。
ミラブルも毛穴のヨゴレが取れそうで良いですし、2025年の大阪万博などもあり、これからの生活が楽しみでワクワクしています!
サイエンスLDホームオーナー 様
サイエンス製品が気になって選びました。
実際に住んでみて、水の美味しさ、特に炊飯したお米の美味しさを実感しています。
2年に一度のフィルター交換の手間はありますが、毎日お水を飲んでいますし、サイエンスウォーターセキュリティを設置してから生活の質が向上したように感じています。
実際に掛かる費用
サイエンスウォーターセキュリティの導入には、水道業者による工事が必要になります。
また、カートリッジ式の浄水フィルターは約2年ごとの交換があります。独自の内部構造で実用新案も取得しているサイエンスウォーターセキュリティの本体も安価ではありません。
しかし実際には、サイエンスウォーターセキュリティを導入しない場合と比較して、費用の差はほとんどないまま、家中の水道水がまるごと浄活水になります。
そこでまずは、具体的な初期費用やランニングコストを確認しながら確かめてみましょう。
初期費用
サイエンスウォーターセキュリティ本体
272,800円
設置工事費
44,000円~
- 金額はすべて税込表記です。
- 戸建ての場合は専用のステンレスボックス(別売・税込み33,000円)が必須となります。
初期費用として、本体代金と設置工事費がかかります。
なお、カートリッジ式浄水フィルターも本体に付属しているので、ご購入時に必要な費用はほかにありません。
※設置工事に際し、施工地域やご自宅の設置箇所により、寒冷地仕様にする、地中に埋めるなどの追加処理が必要な場合、工事費は追加処理内容により変動します。
ランニングコスト
カートリッジ式浄水フィルター(交換作業費用込)
26,400円
- 金額は税込表記です。
カートリッジ式浄水フィルターは500トンまで水道水をろ過・浄水にすることができます。
お住まいの地域の水道水の水質やご自宅での水道水の利用状況にもよりますが、浄水フィルターははおおよそ1年半~2年ごとに交換となります。
サイエンスウォーターセキュリティ本体やセラミックフィルターは交換不要です。
これだけ見ると、やはりかなり高いように感じますが…?
たしかに、費用としては決して安くありません。
しかし、いまのご家庭で、キッチン水栓に取り付ける浄水器はありませんか?
ありますけど、それほど高価なものではないですよ。
では、実際に比較してみましょう。
従来型浄水器とのコスト比較
| 比較項目 | サイエンスウォーターセキュリティ | 従来型浄水器(※1) |
|---|---|---|
| 浄水箇所 | キッチン、お風呂、温水洗浄便座、 洗面所、その他ご家庭内のあらゆる 蛇口(ここでは4箇所で計算) | キッチン水栓のみ1箇所 |
| 浄水能力 | 500トン (従来型浄水器25本分) | 平均10~20トン |
| 初期費用 | 316,800円(※2) | 6,518円(本体代) |
| カートリッジ代 | 26,400円 | 7,700円 |
| カートリッジ交換頻度 | およそ2年ごと | 3ヵ月~1年ごと (ここでは半年で計算) |
| 10年間でのコスト | 422,400円(※3) | 152,818円(※4) |
| 蛇口1箇所あたりの 10年間のコスト | 105,600円(4箇所の場合) | 152,818円(1箇所のみ) |
| 1日あたりのコスト | 約115.6円(※5) | 約41.8円(※6) |
| 蛇口1箇所につき 1日あたりのコスト | 約28.9円 (4箇所の場合) | 約41.8円 (1箇所のみ) |
※金額はすべて税込表記です。
※1 従来型浄水器の本体とカートリッジの価格は、一般的なキッチン水栓に取り付けるタイプの従来型浄水器で、大手通販サイトでの売上ランキング1位(2024年8月時点)の製品を参考にしています。
※2 本体272,800円、設置工事費44,000円、工事の追加処理がない場合。
※3 初期費用316,800円 + カートリッジ交換26,400円 × 4回 で計算。
※4 本体6,518円 + カートリッジ交換7,700円 × 19回 で計算。
※5 10年間でのコスト422,400円 ÷ 10年間の日数3652.5日 で計算。
※6 10年間でのコスト152,818円 ÷ 10年間の日数3652.5日 で計算。
サイエンスウォーターセキュリティ本体は長期間の使用を想定しているため、10年間使用した場合のコストで比較します。
サイエンスウォーターセキュリティは、1日あたり約115.6円(従来型の浄水器の3台分以下)、水栓が4箇所の場合は1箇所あたり約28.6円で、家中の蛇口を浄活水にすることができます。
このように、1箇所あたりのコストを考えると、実質的には従来型浄水器と同等、もしくはサイエンスウォーターセキュリティの方がコストパフォーマンスが高くなります。
サイエンスウォーターセキュリティは長期間ご使用いただけるので、額面としては高額に見えるかもしれません。
しかし実際には、従来型の浄水器と同等かそれ以上に経済的なんです。
なるほど、こうして見比べると、感覚的になんとなく高い気がしていたんだと気づきました。
一軒家などで蛇口が多い場合はさらにお得になりそうですね。
そうですね、お手洗いや浴室が複数あったり、庭先に蛇口がある場合などは、蛇口1箇所あたりのコストはさらに下がります。
ところで、飲用水はどうでしょう?
ペットボトルの市販の天然水を買う機会はありませんか?
あります。飲み水はどうしても、水道水より市販の天然水の方が美味しいイメージがあるので…ほとんど毎日買ってます。
サイエンスウォーターセキュリティの特徴の1つは、浄水にするだけではなく、5種類のセラミックフィルターによって活水化することができるところです。
では、飲用水としての比較も確認してみましょう。
飲用水のコスト比較

市販の天然水
500mlで100円のペットボトルの場合
4Lあたり800円

ウォーターサーバー
12Lで1200円のボトルの場合
4Lあたり400円

サイエンスウォーターセキュリティ
水道代1Lあたり約0.27円の場合(※)
4Lあたり約1円
ランニングコストを含めても116円
※水道代は東京都にお住いの4人家族の平均値から算出。
「サイエンスウォーターセキュリティが選ばれる7つの理由」でもご紹介しましたが、サイエンスウォーターセキュリティは、酸化還元電位の検査で、市販の天然水より数値がすぐれていることが実証されています。(2008年 (財)関西環境管理技術センター調べ)
飲用水として主に利用されている、市販の天然水やウォーターサーバーとの比較では、サイエンスウォーターセキュリティは、酸化還元電位が市販の天然水よりも低いうえに、飲用水としてのコストも圧倒的に低くなります。

導入の流れ
サイエンスウォーターセキュリティの導入には、水道業者による工事が必要になります。また、お住まいの住居の状況によっては、追加の工事が必要になったり、設置不可となる場合もございます。
ご自身で設置してご使用いただくタイプの製品ではございませんので、お問い合わせの前にまずは導入の流れをご確認ください。
お問い合わせ
フォームやお電話でお問い合わせをいただきます。
当店スタッフより、サイエンスウォーターセキュリティの導入にあたっての流れや必要事項をご説明いたします。
事前設置確認
お問い合わせ後に導入のご意思を確認できましたら、お住まいの住居の状況や環境について、写真などでサイエンスウォーターセキュリティの設置が可能かどうか事前に確認いたします。
また、サイエンスウォーターセキュリティの導入には水道工事業者による工事が必要となります。
基本的に水道工事業者にはお客様ご自身でご依頼いただきますが、その際の手順やご不明点などは当店にてサポートいたします。
当店施工地域(千葉県など)では、当店での工事も可能です。また、千葉県以外も含め、水道工事業者の紹介も可能です。
水道工事業者による設置可否確認
事前設置確認にてご回答いただいた内容を元に、水道工事業者による設置可否の確認をいたします。
場合によっては現地確認が必要となる場合もございます。
ご購入のお手続き
水道工事業者による設置可否確認で設置可能となりましたら、当店販売サイトにてご購入のお手続きをしていただきます。
なお、お問い合わせや事前設置確認など、ご購入前までの費用は一切発生いたしません。
また、販売価格につきましては、寒冷対策や熱対策、地中への施工など、設置状況によって表示価格のほか追加費用が発生する場合がございます。
工事日程調整
ご購入者様と水道工事業者と当店の担当者で、工事日程の調整をいたします。
時期やお住まいの地域にもよりますが、おおよそ1週間~2週間前後での調整となる場合が多いです。
設置工事
調整した日程にて、サイエンスウォーターセキュリティの設置工事をいたします。
工事は数時間、半日程度で完了いたします。
お手続き完了
設置工事の完了を持ちまして、サイエンスウォーターセキュリティ導入のお手続き完了となります。
工事完了後から、ご自宅のあらゆる蛇口で浄活水をご利用いただけます。
サイエンスウォーターセキュリティを導入した生活
キッチン水栓だけでなく、お風呂、温水洗浄便座、洗濯など、日常生活のあらゆるシーンで、浄活水化された水道水をご使用いただけます。
浄水フィルターはカートリッジ式でおよそ2年ごとに交換となりますが、本体やセラミックフィルターには使用期限がございませんので、半永久的にサイエンスウォーターセキュリティを導入した生活をお過ごしいただけます。
ご購入前から施工後まできめ細かくサポート
ご購入前はもちろん、設置完了後も、当店が無料でサイエンスウォーターセキュリティについてのサポートをいたします。
ご使用時の疑問やご不安な点などがございましたら、ぜひお気軽にお問い合わせください。
ぜひお気軽にご相談ください。

サイエンス製品正規販売代理店
当店Takaraは、株式会社サイエンスより認定されて「代理店ID」と「代理店マーク」を取得している正規販売代理店(代理店ID: 01T131812T05)です。
当店でご購入いただいたサイエンス製品はメーカー保証やサポートの対象なりますのでご安心ください。
製品仕様
本体
| 装置名 | セントラル型浄活水器 |
|---|---|
| 形式の呼び | SW-N |
| 総ろ過水量 | 500,000L |
| 浄水能力 | 遊離残留塩素(除去率90% JIS S3201試験結果) |
| 材料の種類 | ABS樹脂、ステンレス |
| ろ材の種類 | 不織布、活性炭、セラミックボール |
| ろ過流量 | 15L/分(実行瞬間ろ過流量38L/分) |
| 使用可能な最小動水圧 | 0.03MPa |
| 安全性 | 浸出性能は水道法に基づく基準適合 |
| 形状 | 円筒形 |
| 寸法 | 直径170mm×高さ426.5mm |
| 質量 | 約6.2kg |
| 接続 | IN-OUT 25A(G1)GPユニオン/20A接統 |
| 使用方法 | 一般家庭量水計以後2次側設置 |
| 最高使用圧力 | 0.7MPa(耐圧力1.75MPa) |
| 圧力損失 | 給水元静圧0.25MPa定格過流量(15L/分)時0.03MPa以下 |
活性炭カートリッジ
| 形状 | 円筒形 |
|---|---|
| 寸法 | 直径122mm×高さ311mm |
| ろ過流量 | 15L/分(実行瞬間ろ過流量38L/分) |
| 総ろ過水量 | 500,000L |
| 浄水能力 | 遊離残留塩素(除去率90% JIS S3201試験結果) |
| ろ過方法 | 活性炭フィルターで遊離残留塩素・有害物の除去 |
| ろ過性能 | 活性炭表面の不織布で30ミクロン以上の異物除去 |
セラミックカートリッジ
| 形状 | 円筒形 |
|---|---|
| 寸法 | 直径56mm×高さ300mm |
| 水質の活性化 | 酸化還元電位(ORP測定)の低減等 |
| 性状改善・活性化方法 | セラミックボール接触で酸化還元の電位の低下 |
製品内容物
- サイエンスウォーター本体
- 活性炭フィルター
- セラミックカートリッジ
メーカー1年保証付き
サイエンスウォーターセキュリティは、耐久性と長期間のご利用を前提に設計されています。
株式会社サイエンスの品質に加えて、1年のメーカー保証もついています。
万が一初期不良や通常のご使用中に問題が発生した場合も、保証期間内であれば無償修理・交換に対応いたします。
ぜひお気軽にご相談ください。
